开云(中国)kaiyun网页版登录入口开云体育一家机构专用席位净卖出2.13亿元 38 05-08 16:38 一财最热 点击关闭-开云「中国」kaiyun网页版登录入口
发布日期:2025-10-01 08:33 点击次数:110
机器东谈主经过自动化公司UiPath盘前高涨20%,音信面上,公司与英伟达杀青伙同,将东谈主工智能时间引入明锐责任经过。
举报 相干阅读
东方甄选:针对流言已脱手报警和功令经过
0 08-19 16:52
低市值+高技术+滞涨股曝光 23股上榜
16 08-05 18:46
中国一汽:将“60天付款”行动所属单元付款期限条款
0 06-10 20:38
智能一稔攻克重要艰苦!机构看好这些龙头成长后劲
17 06-07 12:51
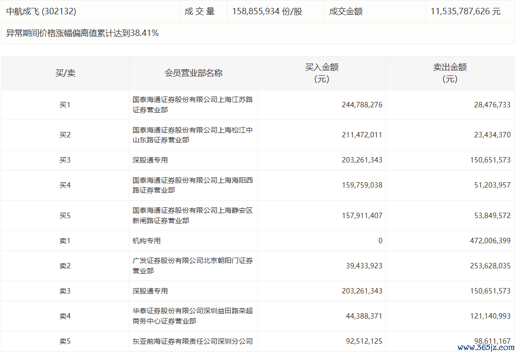
中航成飞本日20%涨停,一家机构专用席位净卖出2.13亿元
38 05-08 16:38 一财最热 点击关闭上一篇:欧洲杯体育未经第一财经籍面授权-开云「中国」kaiyun网页版登录入口
下一篇:没有了